Projects

Thumbnail for Project 1

EasyMusic

Open-source Electron app for downloading music from Spotify and YouTube

Thumbnail for Project 2

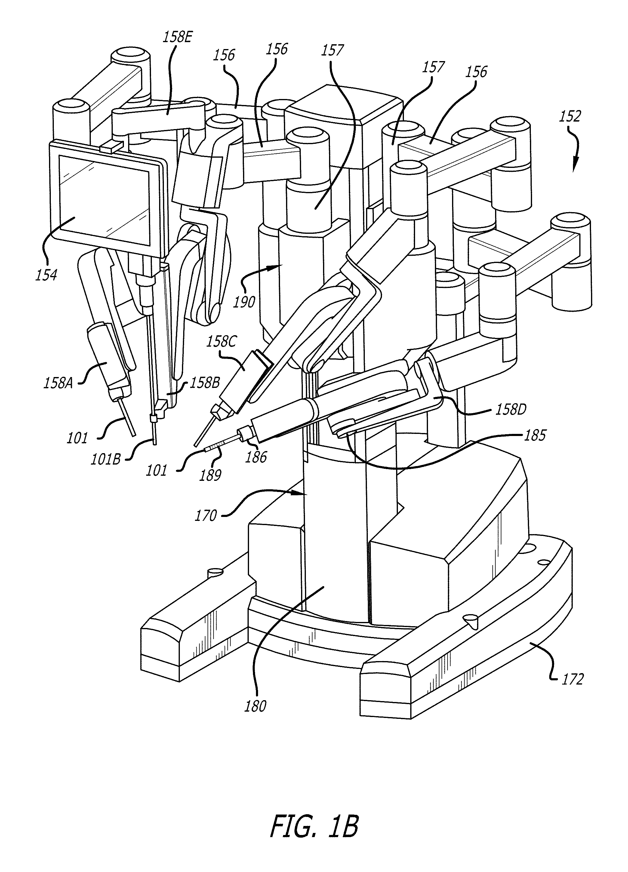
BME 462: Bioinstrumenetation

Embedded force sensor for robotic assisted surgery

Thumbnail for Project 3

FM Reciever

Two custom build FM radios

Thumbnail for Project 4

BME 462: Bioinstrumentation

ECG + Pulse Ox

Thumbnail for Project 5

Zoology 400: Cellular Neurobiology

A mini review on 5HT2Ar agonists

Thumbnail for Project 6

BME 602: Neuroengineering

Towards Translational Optogenetics

Thumbnail for Project 7

BME 550: BioMEMS

Microfluidic Device for Neuronal Cultures

Thumbnail for Project 8

Academic Posters

Summary of posters from over the years

Thumbnail for Project 9

BME 640: Product Ecosystem

Hazard Abalysis & VC Pitch for a biomedical product

Thumbnail for Project 10

Audio Sensitive Visualization

Created using TouchDesigner

Thumbnail for Project 11

Financial Tracker

Investment portfolio tracker for daily automated documentation

Thumbnail for Project 12

Personal Videos

Filmed with Sony a6400 & edited in Final Cut

Thumbnail for Project 13

Professional Videos

Produced for Effectivate's Marketing & Sales departments